INTEWA
SEPAMAT - Separador do sistema

O Sepamat é um dispositivo que permite separar a água da rede pública da água utilizada para autoconsumo, assim, evita-se uma possível contaminação devido ao refluxo de substâncias que possam existir entre os sistemas.
Os separadores de sistema Sepamat podem economizar até 75% de energia e, portanto, atendem aos padrões de eficiência da Diretiva Europeia de Ecodesign para Produtos Consumidores de Energia (EuP).
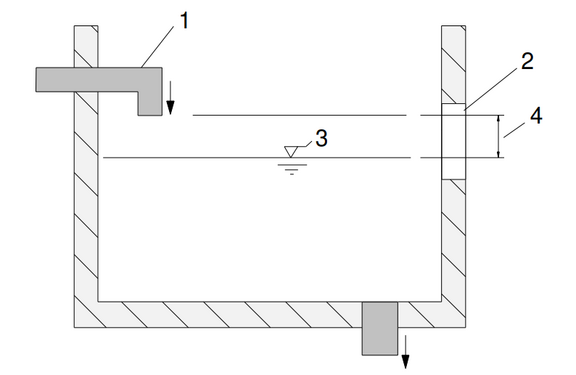
Uma bomba integrada fornece a água de um tanque de armazenamento separador para os consumidores e o nível de água é controlado por uma válvula de flutuação. A rede de água potável e o transbordo de emergência são conectados ao tanque de armazenamento do separador (esquema 1).

Legenda:
1. Entrada de água da rede, câmara de separação
2. Transbordo de emergência, câmara de separação
3. Nível de água máximo possível (divido à falha)
4. Espaço de ar entre a entrada e o nível máximo de água possível = separação segura da água potável da água do utilizador
Esquema 1 - Exemplo da separação de águas
Instalação do Rainmaster Eco 10
.jpg)
As unidades de separação Sepamat foram concebidas para utilizações tanto em residências unifamiliares, como edifícios de apartamentos, escritórios, indústria e, para atender às necessidades, podem ser acoplados (figura 1).
Código
Volume máximo L/h
Barra de pressão máxima (bar)
Especificações

SMT E10
600
3,2

SMT F20
5.400
5,0


SMT F40-SC
7.800
2,5 - 6,5
Nível de pressão ajustável
Legenda:
1. Válvula de expansão
2. Linha de pressão para o consumidor
3. Conexão de água da rede

2 x SMT F40-SC
15.600
2,5 - 6,5
Operação paralela redundante

3 x SMT F40-SC
23.400
2,5 - 6,5
Operação paralela redundante
Figura 1 - Caraterísticas das unidades de Separação Sepamat
Deseja receber informações regulares sobre os produtos e projectos LANDLAB no seu correio electrónico?
Morada: Travessa de Pontelhas, 236
4465-721 Leça do Balio, Matosinhos, Porto
Telefone: +351 22 9537 165 / +351 91 0674 349
E-mail: info@landlab.pt
LANDLAB. 2016 Todos os direitos reservados
Designed and developed by Thesign